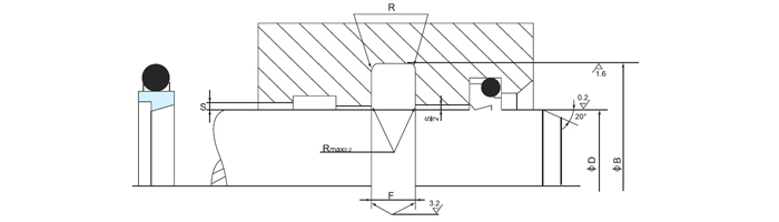
轴用格来圈

| Pull Rod Diameter 拉杆直径ФDf8 |
Groove Inner Diameter 沟槽外径 | Groove Width 沟槽宽度 | Diametral clearance 径向间隙 |
S max** Max Radius 半径 |
O Ring Inner Diameter O型圈 内径 |
O Ring Diameter O型圈 线径 |
|||
| Overloading Series 重载系列 | Standard Series 标准系列 | Light Load Series 轻载系列 | |||||||
| - | - | - | B h9 | F+0.2 | 0-20Mpa | 20-40Mpa | R | - | - |
| - | 3-7.9 | - | d+4.9 | 2.2 | 0.6-0.4 | 0.4-0.3 | 0.3-0.5 | d+2 | 1.78 |
| - | 8-18.9 | 8-18.9 | d+7.3 | 3.2 | 0.8-0.5 | 0.5-0.3 | 0.5-0.8 | d+3.5 | 2.62 |
| 8-18.9 | 19-37.9 | 19-37.9 | d+10.7 | 4.2 | 0.8-0.5 | 0.5-0.4 | 0.8-1.2 | d+5 | 3.53 |
| 19-37.9 | 38-199.9 | 38-199.9 | d+15.1 | 6.3 | 1.0-0.6 | 0.6-0.4 | 1.2-1.5 | d+7 | 5.33 |
| 38-199.9 | 200-255.9 | 200-255.9 | d+20.5 | 8.1 | 1.0-0.6 | 0.6-0.5 | 1.5-2.0 | d+9.5 | 7.00 |
| 200-255.9 | 256-649.9 | 256-649.9 | d+24.0 | 8.1 | 1.2-1.0 | 1.0-0.6 | 1.5-2.0 | d+13 | 7.00 |
| 256-649.9 | 650-999.9 | 650-999.9 | d+27.3 | 9.5 | 1.4-1.0 | 1.0-0.7 | 2.0-3.0 | d+14.5 | 8.40 |
**高压时,S max=H7-f7(缸筒-活塞)

| Pull Rod Diameter 拉杆直径ФDf8 | Groove Inner Diameter 沟槽内径 | Groove Width 沟槽宽度 |
Diametral clearance 径向间隙 | S max** Max Radius 最大半径 |
O Ring Inner Diameter O型圈内径 |
O Ring Diameter O型圈 |
|||
| Overloading Series 重载系列 |
Standard Series 标准系列 |
Light Load Series 轻载系列 |
|||||||
| - | - | - | B h9 | F+0.2 | 0-20Mpa | 20-40Mpa | R | - | - |
| - | 3-7.9 | 8-18.9 | d+4.9 | 2.2 | 0.6-0.4 | 0.4-0.3 | 0.3-0.5 | d+2 | 1.78 |
| - | 8-18.9 | 19-37.9 | d+7.3 | 3.2 | 0.8-0.5 | 0.5-0.3 | 0.5-0.8 | d+3.5 | 2.62 |
| 8-18.9 | 19-37.9 | 38-199.9 | d+10.7 | 4.2 | 0.8-0.5 | 0.5-0.4 | 0.8-1.2 | d+5 | 3.53 |
| 19-37.9 | 38-199.9 | 200-255.9 | d+15.1 | 6.3 | 1.0-0.6 | 0.6-0.4 | 1.2-1.5 | d+7 | 5.33 |
| 38-199.9 | 200-255.9 | 256-649.9 | d+20.5 | 8.1 | 1.0-0.6 | 0.6-0.5 | 1.5-2.0 | d+9.5 | 7.00 |
| 200-255.9 | 256-649.9 | 650-999.9 | d+24.0 | 8.1 | 1.2-1.0 | 0.8-0.6 | 1.5-2.0 | d+13 | 7.00 |
| 256-649.9 | 650-999.9 | - | d+27.3 | 9.5 | 1.4-1.0 | 1.0-0.7 | 2.0-3.0 | d+14.5 | 8.40 |
轴用格来圈尺寸表 Size Table of Axis Glyd Ring
|
Pull Rod Diameter 拉杆直径Df8
|
Groove Inner Diameter
沟槽外径
Bh9
|
Groove Width 沟槽宽度
F+0.2
|
Item NO.
型号
|
Pull Rod Diameter 拉杆直径
Df8
|
Groove Inner Diameter
沟槽外径
Bh9
|
Groove Width
沟槽宽度F+0.2
|
Item NO.
型号
|
|
4
|
8.9
|
2.2
|
ZG1043-0040
|
56
|
71.1
|
6.3
|
ZG1043-0560
|
|
5
|
9.9
|
2.2
|
ZG1043-0050
|
56
|
66.7
|
4.2
|
ZG1045-0560
|
|
6
|
10.9
|
2.2
|
ZG1043-0060
|
60
|
75.1
|
6.3
|
ZG1043-0600
|
|
7
|
11.9
|
2.2
|
ZG1043-0070
|
60
|
70.7
|
4.2
|
ZG1045-0600
|
|
8
|
15.3
|
3.2
|
ZG1043-0080
|
63
|
78.1
|
6.3
|
ZG1043-0630
|
|
8
|
12.9
|
2.2
|
ZG1045-0080
|
65
|
80.1
|
6.3
|
ZG1043-0650
|
|
10
|
17.3
|
3.2
|
ZG1043-0100
|
70
|
85.1
|
6.3
|
ZG1043-0700
|
|
10
|
14.9
|
2.2
|
ZG1045-0100
|
75
|
90.1
|
6.3
|
ZG1043-0750
|
|
12
|
19.3
|
3.2
|
ZG1043-0120
|
80
|
95.1
|
6.3
|
TS1043-0800
|
|
12
|
16.9
|
2.2
|
ZG1045-0120
|
85
|
100.1
|
6.3
|
ZG1043-0850
|
|
14
|
21.3
|
3.2
|
ZG1043-0140
|
90
|
105.1
|
6.3
|
ZG1043-0900
|
|
14
|
18.9
|
2.2
|
ZG1045-0140
|
95
|
110.1
|
6.3
|
ZG1043-0950
|
|
16
|
23.3
|
3.2
|
ZG1043-0160
|
100
|
115.1
|
6.3
|
ZG1043-1000
|
|
16
|
20.9
|
2.2
|
ZG1045-0160
|
105
|
120.1
|
6.3
|
ZG1043-1050
|
|
18
|
25.3
|
3.2
|
ZG1043-0180
|
110
|
125.1
|
6.3
|
ZG1043-1100
|
|
18
|
22.9
|
2.2
|
ZG1045-0180
|
115
|
130.1
|
6.3
|
ZG1043-1150
|
|
20
|
30.7
|
4.2
|
ZG1043-0200
|
120
|
135.1
|
6.3
|
ZG1043-1200
|
|
20
|
27.3
|
3.2
|
ZG1045-0200
|
125
|
140.1
|
6.3
|
ZG1043-1250
|
|
22
|
32.7
|
4.2
|
ZG1043-0220
|
130
|
145.1
|
6.3
|
ZG1043-1300
|
|
22
|
29.3
|
3.2
|
ZG1045-0220
|
135
|
160.1
|
6.3
|
ZG1043-1350
|
|
25
|
35.7
|
4.2
|
ZG1043-0250
|
140
|
155.1
|
6.3
|
ZG1043-1400
|
|
25
|
32.3
|
3.2
|
ZG1045-0250
|
150
|
165.1
|
6.3
|
ZG1043-1500
|
|
30
|
40.7
|
4.2
|
ZG1043-0300
|
160
|
175.1
|
6.3
|
ZG1043-1600
|
|
30
|
37.3
|
3.2
|
ZG1045-0300
|
170
|
185.1
|
6.3
|
ZG1043-1700
|
|
32
|
42.7
|
4.2
|
ZG1043-0320
|
180
|
195.1
|
6.3
|
ZG1043-1800
|
|
32
|
39.3
|
3.2
|
ZG1045-0320
|
190
|
205.1
|
6.3
|
ZG1043-1900
|
|
36
|
46.7
|
4.2
|
ZG1043-0360
|
200
|
220.5
|
8.1
|
ZG1043-2000
|
|
36
|
43.3
|
3.2
|
ZG1045-0360
|
210
|
230.5
|
8.1
|
ZG1043-2100
|
|
40
|
55.1
|
6.3
|
ZG1043-0400
|
220
|
240.5
|
8.1
|
ZG1043-2200
|
|
40
|
50.7
|
4.2
|
ZG1045-0400
|
230
|
250.5
|
8.1
|
ZG1043-2300
|
|
45
|
60.1
|
6.3
|
ZG1043-0450
|
240
|
260.5
|
8.1
|
ZG1043-2400
|
|
45
|
55.7
|
4.2
|
ZG1045-0450
|
250
|
270.5
|
8.1
|
ZG1043-2500
|
|
50
|
65.1
|
6.3
|
ZG1043-0500
|
260
|
284.0
|
8.1
|
ZG1043-2600
|
|
50
|
60.7
|
4.2
|
ZG1045-0500
|
270
|
294.0
|
8.1
|
ZG1043-2700
|


